防腐塑胶连杆浮球液位开关
>

防腐塑胶连杆浮球液位开关

产品描述
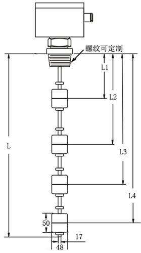
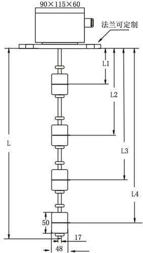
连杆浮球液位开关是把中空且内部装有环形磁铁的浮球,按要求贯穿限定在密闭的非导磁的导杆上,当浮球受液体浮力作用而随液位上升或下降时,在磁力的作用下导杆内相应位置处预先装置的干簧管即输出开(通)或关(断)的信号,指示被测液体的实际位置。 


产品规格︰ 把中空且内部装有环形磁铁的浮球,按要求贯穿固定在密闭的非导磁的导杆上,当浮球受液体浮力作用而随液位上升或下降时,在磁力的作用下,导杆内的干簧管即输出开(通)或关(断)的信号,指示被测液体的实际位置。 
采用日本原装进口干簧管制造,使用寿命长; 
其防水接线盒最低IP65的防护等级,可极佳的保护电气线路; 
控制线路与被测介质完全隔离,可实现高温、高压下的液位控制; 
可根据需要实现多点、远距离控制; 
多种材质:SUS304/316、PP、PVDF等,多种连接方式;法兰、螺纹等,可满足不同环境的需求; 
应用范围广:水处理、化工、食品、医药、包装、电子、船舶、纺织、液压等行业均可使用。
产品优点︰ 防腐 耐酸碱 无毒
参考单价︰ 厂价

产品图片

 

 

 

上一篇:EVS312-11
下一篇:EVS452-51
扫一扫!关注最新资讯